八旗云

 找回密码
 立即注册
搜索
热搜: 活动 交友 discuz
查看: 116|回复: 0

指点云 香港CN2 云服务器/VPS 性能测评

[复制链接]

1

主题

1

帖子

3

积分

新手上路

Rank: 1

积分
3
发表于 2022-11-27 11:50:22 | 显示全部楼层 |阅读模式
指点云 香港CN2 云服务器/VPS 性能评测,双十一优惠 2核4G 5兆 5G防御 仅需35元/月,不限流量
官网地址:https://www.zhidianyun.cn/?i3963c1
性价比高的服务器推荐:https://www.awsl9527.cn/archives/41.html
本期测评服务器配置

  • CPU:2核
  • 内存:4G
  • 硬盘:40G+40G
  • 流量:不限
  • 宽带:5Mbps
  • 地区: 香港
  • 防御:5Gbps
  • 价格:35元/月
天翼云8折优惠购买地址:https://blog.zeruns.tech/archives/659.html
华为云 鲲鹏ARM云服务器 和 x86云服务器 性能评测对比:https://blog.zeruns.tech/archives/662.html
轻量应用服务器和云服务器性能测试对比:https://blog.zeruns.tech/archives/689.html
雨云 宿迁5900X高防云服务器 性能测评:https://blog.zeruns.tech/archives/686.html
配置信息

CPU型号是 Intel Xeon E5-2690


性能测试

lemonbench

单核:916 分,多核 1804 分。
完整测试报告:https://url.zeruns.tech/6UyGh


CPU-Z

单核 339.7 分,多核 650.6 分,多线程倍率 1.92


宝塔跑分

单核 2069 分,多核 4139 分。


Unixbench测试

单核 680.9 分,多核 1234.6 分。


Geekbench 5

单核 700 分,多核 1389 分。
完整测试报告:https://url.zeruns.tech/6VGPo



网络延迟

三网平均延迟 35.8 ms,最快 11 ms。


带宽测试



网络路由

广东广州电信

直连香港


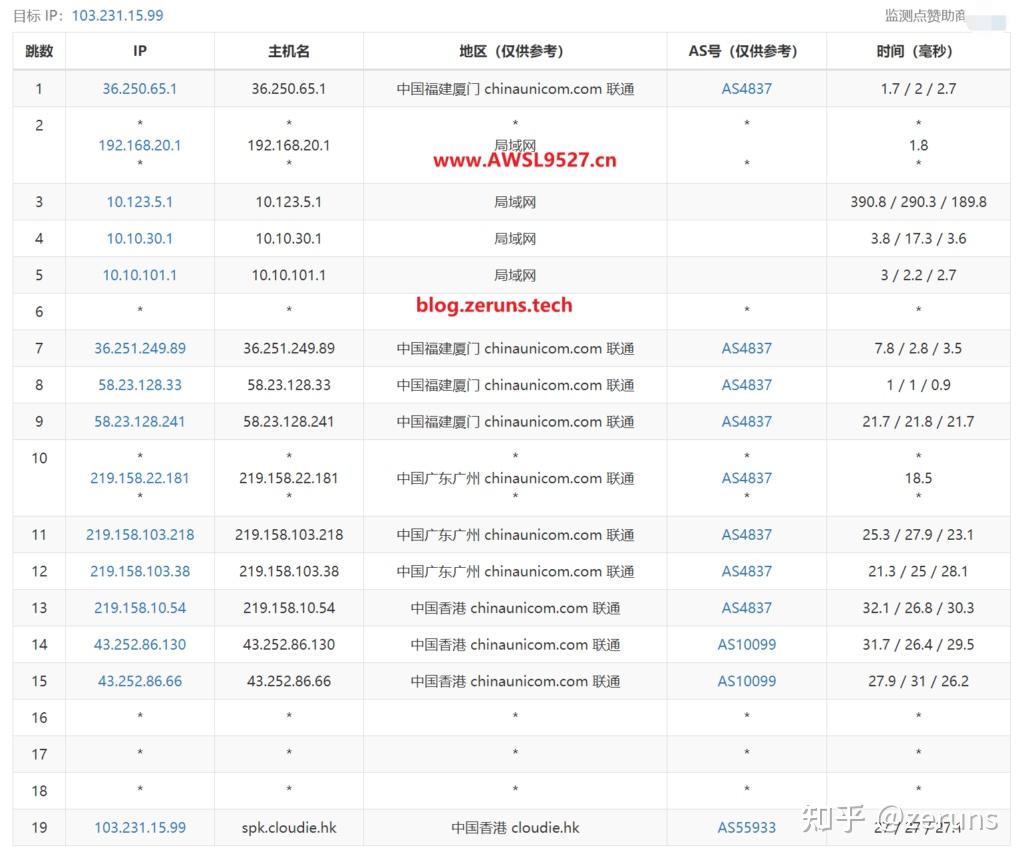
福建厦门联通

直连香港


江西南昌移动

直连香港


推荐阅读


  • 高性价比和便宜的VPS/云服务器推荐: https://blog.zeruns.tech/archives/383.html
  • 使用NPS搭建内网穿透服务器,带Web面板:https://blog.zeruns.tech/archives/660.html
  • 怎样搭建个人博客:https://blog.zeruns.tech/archives/218.html
  • 我的世界服务器搭建教程:https://blog.zeruns.tech/tag/mc/
  • Linux搭建甜糖星愿服务教程:https://blog.zeruns.tech/archives/628.html
  • Linux服务器/VPS性能和带宽测试脚本汇总:https://blog.zeruns.tech/archives/533.html
回复

使用道具 举报

您需要登录后才可以回帖 登录 | 立即注册

本版积分规则

Archiver|手机版|小黑屋|八旗云

GMT+8, 2025-10-13 15:41 , Processed in 0.089252 second(s), 23 queries .

Powered by Discuz! X3.4

Copyright © 2001-2021, Tencent Cloud.

快速回复 返回顶部 返回列表